皇冠信用網结算日是哪天 _刚刚,跳水!超20万人爆仓
如何申请皇冠代理(huangguan.hk—)开会员号,招代理/条件好/皇冠体育/出租/招登1登2登3地区代理【导读】加密货币市场集体走低皇冠信用網结算日是哪天 ,超20万人被爆仓
中国基金报记者 晨曦
刚刚皇冠信用網结算日是哪天 ,加密货币市场再度跳水!
10月14日晚间,比特币再度走低,一度跌破11万美元,跌幅达4.6%皇冠信用網结算日是哪天 。

以太坊一度跌破3900美元,跌幅超8%皇冠信用網结算日是哪天 。

主流加密货币集体走低,狗狗币、币安币、艾达币等均大幅下跌皇冠信用網结算日是哪天 。

展开全文
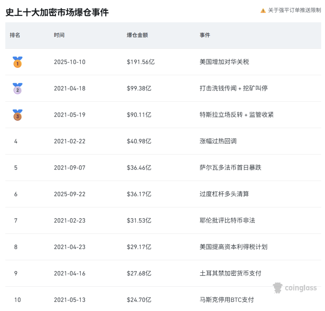
CoinGlass数据显示,最近24小时,全球共有20.66万人被爆仓,爆仓总金额为6.56亿美元,其中,多单爆仓4.75亿美元,空单爆仓1.82亿美元皇冠信用網结算日是哪天 。

美股加密货币概念股普跌皇冠信用網结算日是哪天 。

此外,根据德勤近期研究,约25%的比特币可能暴露在量子攻击风险下皇冠信用網结算日是哪天 。若这些比特币未能及时转移至抗量子地址,待强大量子运算机投入使用后,可能造成数千亿乃至兆美元的损失。数字资产管理公司Capriole Investment创始人、长期比特币倡导者Charles Edwards指出,量子运算威胁远比普遍认知的更迫近,并敦促社区在2026年前构建防御体系。
北京时间周三凌晨00:20,美联储主席鲍威尔将在全美商业经济协会举办的活动上发表讲话,主题为《经济展望与货币政策》皇冠信用網结算日是哪天 。业内认为,鲍威尔的讲话可能左右市场对降息节奏及整体货币政策的预期,从而决定当前加密货币市场的下行趋势是加剧还是企稳。
就在上周,美国总统特朗普发布关税威胁,加密货币市场遭遇“大清洗”,主流币种集体大跌皇冠信用網结算日是哪天 。CoinGlass数据显示,10月10日爆仓金额超191亿美元,居于历史首位。随后虽有所回升,但当天暴跌的“创伤”仍令投资者心有余悸。

区块链数据公司Santiment指出,上周五的抛售并非单纯受关税消息驱动皇冠信用網结算日是哪天 。散户交易者迅速将暴跌归咎于关税对峙,但更深层的结构性问题正在积聚,包括过度杠杆和多头仓位的极端集中。
TD Cowen分析师在近期报告中表示,美国参议员们在推动加密货币市场结构法案通过一事上行动迟缓,这可能导致该法案的通过时间推迟至中期选举之后皇冠信用網结算日是哪天 。
过去一年,已有多名民主党人对特朗普总统与数字资产的关联表示担忧,这一情况反过来使立法进程变得更加复杂皇冠信用網结算日是哪天 。据计算,特朗普通过其家族的加密货币项目(包括World Liberty Financial去中心化金融稳定币项目,以及“TRUMP”“MELANIA”两款迷因币)已获利约6.2亿美元。
编辑:黄梅
校对:王玥
制作:舰长
审核:陈墨
版权声明
《中国基金报》对本平台所刊载的原创内容享有著作权,未经授权禁止转载,否则将追究法律责任皇冠信用網结算日是哪天 。
猜你喜欢
- 40分钟前皇冠信用网账号注册_郑丽文首度回应“两岸统一”,坦言没成熟条件,但提出一种新模式
- 40分钟前皇冠信用网账号注册_中方越买越少,普京没法再装看不见!2025年中俄贸易大幅度下降
- 40分钟前皇冠信用网账号注册_受贿1.17亿余元,十四届全国政协人口资源环境委员会原副主任李微微一审被判无期
- 5小时前皇冠信用代理流程_江苏盐城在建大桥塌落已致2死3失联
- 5小时前皇冠信用代理流程_一觉醒来,日本大选再生变?64岁高市早苗患病,已第一时间送医诊治
- 20小时前皇冠登1登2登3申请_新线首运|首迎春运,西延高铁见证老区“归途”之变
- 2天前信用网如何申请_骆伟突发疾病离世,年仅42岁
- 2天前皇冠信用网在线开户_中国对委内瑞拉下禁令,特朗普一看形势不对,立即向中方发出邀请
- 2天前皇冠信用网在线开户_张纪中称:刘亦菲演的“小龙女”本来考虑刘晓庆演
- 2天前皇冠信用网如何注册_重庆市南岸区委书记许洪斌当选重庆市人大常委会副主任
- 3天前皇冠信用网会员申请_重庆市副市长但彦铮、市政府秘书长罗清泉,履新职
- 4天前怎么申请皇冠信用网_女子离世前将3000万元遗产给未成年女儿,三家公司股权遗赠异性朋友并让其抚养女儿,离婚不到一个月的前夫怒告,法院判了
- 4天前怎么申请皇冠信用网_10天斩获6个涨停板!李亚鹏流量带火天地在线,翻倍涨势能否撑过业绩寒冬?
- 5天前皇冠信用网正版会员_斯塔默:我听到了“盲人摸象”的故事,对华接触是为全面了解中国
- 5天前皇冠信用网正版会员_泽连斯基:就能源设施达成的停火将从29日夜间开始
- 6天前正版皇冠信用网开户_农村夫妻36万枚鸡蛋卖出36万元上热搜,这些蛋是“全国名特优新农产品”,买家河南矿山:给员工的春节大礼包,选最好的买
- 7天前皇冠信用网去哪里弄_绵阳市市长李云被查,昨天还在开会
- 1周前如何代理皇冠信用_黄金“平替”的“平替” 最终归宿是废品收购站?
- 1周前皇冠信用网会员账号_武汉男子坚持16年不熬夜不喝酒,原因让人没想到……
- 1周前皇冠信用在线开户_一年狂揽16亿,河南公司卖2元“土味零食”,老板称“不上市、不欠钱”
- 1周前皇冠足球管理平台出租_新车买来6天,4S店销售员一个没注意撞了!贬值3.5万谁来承担?
- 1周前U23国足进球被吹 _普京轻描淡写一句话,让中俄分歧摆上台?美国出面嘲讽,欧洲不会跪
- 2周前皇冠信用网注册网址_杭州小学女生躲在厕所偷偷哭,医生建议休学!没想到2个月来,她一节课没落下!“原来除了爸爸妈妈,还有那么多人爱我”
- 2周前体育皇冠信用网_果然出尔反尔!中方刚买6万吨油菜籽,电车就遭针对,加总理没管住手下


网友评论